Published by Veeraraghavulu vemula1, R. Vanitha, sathyabama2, institute of science and technology , India. ORCID: 1. 0000-0001-5872-8537 2. 0000-0003-2195-7242
Abstract: Distributed generation (DG)is a term describing the generation of the electricity use on other side rather than transmitting energy over the electric grid. By using this (Distribution generation) DG in power system plays a major role in improving voltage profile, reduce the power losses and improves stability of the substation. Distribution generations (DG) are located near to load centres, so care should be taken while allocating DG in the power system to increases the benefits. By placing the distributed generators in the distribution system (primary distribution system) the real, reactive power and improving the voltage profile can be managed in optimal way will be explained in this paper. Optimal Allocation of the DG is identified by using the using the VSI, ratings are computed by using the different optimal techniques. The power loss reduction and better voltage regulation can be attained by using the optimal techniques. A clear and complete analysis of performance should be carried throughout the work to demonstrate the efficiency of the system.
Streszczenie. Generacja rozproszona (DG) to termin opisujący wytwarzanie energii elektrycznej po drugiej stronie, a nie przesyłanie energii przez sieć elektryczną. Dzięki zastosowaniu tego (Generacja dystrybucyjna) DG w systemie elektroenergetycznym odgrywa główną rolę w poprawie profilu napięcia, zmniejszeniu strat mocy i poprawie stabilności podstacji. Generacje dystrybucyjne (DG) znajdują się w pobliżu centrów obciążenia, dlatego należy zachować ostrożność podczas przydzielania DG w systemie elektroenergetycznym, aby zwiększyć korzyści. Poprzez umieszczenie rozproszonych generatorów w systemie dystrybucyjnym (pierwotny system dystrybucyjny) w niniejszym artykule zostanie wyjaśniona rzeczywista moc bierna i poprawa profilu napięcia. Optymalna alokacja DG jest identyfikowana przy użyciu VSI, oceny są obliczane przy użyciu różnych optymalnych technik. Zmniejszenie strat mocy i lepszą regulację napięcia można osiągnąć przy użyciu optymalnych technik. W trakcie prac należy przeprowadzić jasną i kompletną analizę wydajności, aby wykazać skuteczność systemu. (Przegląd technik optymalnego rozmieszczenia i wielkości DG w systemie dystrybucji)
Key words: Distribution systems, Optimal placement of DG, Sizing of DG
Słowa kluczowe: rozproszone systemy dystrybucji energii, optyma;lizacja
Introduction
Nowadays, the demand for electrical power has been increasing rapidly. Due to the limited resources the generation stations and transmission systems expansion is less. For last 20 years a lot of research going on the DG. Dugan and MC. Dermott, T.E[1] defined the dispersed generators systems as below: dispersed generators are the generators that are interconnected with the distribution system and power distribution is less than 10Mega Watt. Basically, the larger units are connected to the transmission lines directly. Dispersed generators are installed in system where the power distribution is not more than 1 or 2Mege Watt and most of them are installed by utility. This type of power generation is called as “Dispersed Generation”.
By the load flow analysis, the system operation conditions like phasor voltages, real and reactive power flow will obtain. To solve the power flow problem, many algorithms are developed for transmission network. These algorithms for low voltage distribution network are not suitable, since they are inefficient to these networks. Forward and Backward Sweep (FBS) methods are proposed by Augusto Cesar dos Santos and Marcelo for easy implementation and robustness in power flow analysis, to get load flow solutions without solving the equations, they consider radial distribution network [2].
The problems arise as the load demand on the distribution system increases and many changes occur when the load increases from low to high. M. Chakravorty and D. Das [3] proposed VSI technique is used in RDS. The sensitive node of the system will be identified by a numerical method approach, which was represented by voltage source index(VSI). This method will protect the distribution system from the faults by initiating automatic remedial actions and the distance between two points (working and the constant point) can be find by the voltage source index (VSI). Voltage faults will occur at the node (sensitive node) of the distribution system and later all other nodes (sensitive nodes)of the system will effect.
Kyu-Ho-Kim and Yu-Jeong-Lee [4] presented a logic approach for placing distributed generation (DG) in radial distribution system. The main aim of the technique is to decreases the cost of the power loss of the radial distribution system. By implementing this logic, constrains can be transformed into the unconstrained multi-objective function. To reduce the losses, Caisheng Wang[5] proposed a method for calculating the optimal size of the Dispersed Generators and for identifying optimum location. This technique is tested with different sizes and complexities, the obtained results are compared with exhaustive power flow techniques.
A. Lakshmi Devi [6] proposed the Optimal Dispersed Generation unit by using the Frizzy logic. By using this method, we can find the optimal size of Dispersed Generation and the node is identified by using reasoning technique. Dispersed Generation installed at the node with high suitable index and power. The power losses of the radial distribution system nodes are designed by using the frizzy logic.
As the load demand increases the power distribution network is facing many problems to meet the demand, this increasing load reduced voltage and increases of the power loss[7].If the voltage at the nodes reduces as the nodes are far away from the substations. The voltage varies by the requirement of the reactive power in the system. In industrial sector this is the main reason to collapse the voltage. For improving the voltage profile and to avoid voltage collage in the power system reactive compensation is required [8-9].The ratio of reactance to resistance for the distribution system is low compared to that of the transmission system. This causes large amount of power losses and voltage magnitude drops along the RDS (radial distribution system) lines [10-11].
Distributed generation
The distributed generation (DG) is divided into two types:
I) Renewable energy sources (RES) distributed generators.
II) Non-renewable resources (NRES) (or) Fossil fuel-based sources distributed generators.
Distributed generators have the low environmental emission and more flexible in installing within short period of time [37]. By using these technologies like renewable powered generators are environmentally friendly in nature. Some of the distributed generations are standard centralized generation technologies in cost and operational aspects. Distribution generators allocation is basically difficult issue in the distribution system, which requires many optimization objectives [34]. For the reduction of reactive power and real power losses, increasing the voltage profile, short circuit capacity and carbon emanation etc is shown in figure 1.

As the number of distributing generators currently increases uniformly the distribution networks like operation, generation, control and other issues may also effect. In real time by using the power electronic components the smaller quantity of reactive power can be observed or produces [46-47]. So, this will be a great concern for utilities like wind energy generators [48].
Distributed Generation concept has achieved more attention as of its innumerable advantages. So far DG has no uniformity over definition and size across the world. The definition for DG units varies with country and region. For instance, Anglo-American countries habitually use the term ‘embedded generation’, North American countries as ‘dispersed generation’, and Europe and some parts of Asia as ‘decentralized generation’.
Significance of optimal DG allocation and sizing
Optimal DG allotment has accomplished a lot of significance because of its different benefits. Nonetheless, combination of DG into a current framework will be a vital and troublesome undertaking. Since DG mix changes the conduct of organization from uninvolved to dynamic Bidirectional force stream at last ascents framework misfortune and influences unwavering quality and operational strength [11]. In [12], DG limit speculation is treated as an alluring decision in conveyance framework arranging. Financially it is absurd to expect to apportion DG on every single transport which may prompt antagonistic impacts [13].
Generally, power losses of the distribution system are low compare to the transmission system in the power system. These power losses will impact on the efficiency and the financial issues of the distribution system. For improving the overall efficiency, the power losses should be deceased to appropriate level. Many factors are to be considered to reduce the power losses [12-13]. By installing of Distributed Generators in the distributing system will used to reduce the power losses ,Network stability ,improving the voltage profile and the power factor improvement of the system [14-17].
DG integration benefits
Integrated of DG units into a current framework will have specialized (decreased line misfortunes, top shaving, improved voltage profile, solidness, dependability, influence quality, and by and large viability and so forth), monetary (suspension for updates, less establishment cost with diminished activity and support costs and so on) and ecological (decreased outflow of ozone depleting substances) benefits [32,33]. In 1999 a report distributed in the United Kingdom says that 41% of fossil fuel byproduct will be diminished by utilizing CHP based DG units [7,8].
The power delivered in large quantities to the sub stations through transmission lines. The substation is the point at which the transmission lines and distribution lines meet. The power is distributed to the load through feeders. We know that the supply of the distribution system is mainly comprised 3-phase supply, and then tapped off this supply is 1-phase supply [18-19]. The lines used for the distribution system are highly protected from ratio of resistor to impedance than that of the transmission lines [2]. Many problems occur as the load demand increases on the distribution system and the reduced voltage also effects on the various factors like generation, planning, technical and different other issues of the distribution system [20-21].
The power losses became the major issue in the electrical power system. Due to the power losses in the power system, the reactive power compensation has become increasing and it effect on different factors like operation, planning and other issues of the electric power system [22-23].
In [24], different types of dispersion networks arranging model is introduced. The models proposed were arranging with and without reliability consideration. Depending upon the load flow the distributing system is planned. The load flow analysis of DS (distribution system) is different from the TS (transmission system) due to some in born characters.
As the load flow will effect on the operation, planning and control and will result in sensitive node and time quantities of the power system. There are few techniques available at present literature. Ghosh and Das [25] proposed a method for the radial distribution system using the algebraic expression for receiving end voltage. Dharmasetal [26] presented a model of non-repeatable load flow method for improving voltage profile in distributing system by using the tap changing transformer.
DG allocation and sizing 0- Techniques comparison
A. Analytical method
B. Classical method
C. Optimization techniques
with appropriate size to boost techno-financial advantages. It brings about advance like minimum of generally framework power misfortune, activity and support cost, and improvement in voltage profile, influence quality, framework strength, and dependability. Significant specialized methodologies for ODG assignment and measuring are sorted as follows [7-9,34]:
Analytical approach:
Logical strategies are performing great for little and straightforward frameworks, not appropriate for a framework with enormous and complex organizations [46]. Insightful strategies explored in the current paper are as per the following:
Tengetal [27] approaches a method for the load flow analysis of the RDS (radial distribution system) employed with node-injected to branch-current (NIBC) and branch-current and node-voltage (BCNV) of distributing network using the algebraic expression of receiving end voltage [28-29].
Method of Kalman filter:
It is otherwise called Linear Quadratic Estimation. Its precision relies upon the quantity of tests. It is utilized for various DG allotments with a smaller number of tests. Expansion in the quantity of tests raises computational weight. It is utilized to decide DG size and an ideal finder file for DG assignment [38].
Sensitive analysis:
Nowadays there are many research papers on this topic of distributed generation for power loss and improving of voltage profile etc. [35-36] [37-38] [39-40]. Kashem-et-al [41] proposed a sensitive used to detects the change in power losses as respect to the distributed generators current injection. Erlich et al [42] proposed a design a method for balancing the reactive power from a number of DG (distributed generators) in the RDS (radial distributed system). In [43], sensitive analysis is used for finding the optimal allocation of DG (distributed generators) network. In [44], the optimal allocation of (DG) distributed generator by using the voltage source index (VSI). In [45], loss sensitivity factor is used for finding the optimal allocation of DG (distributed generators).
Classical method:
Weak hub node strategy is affectability-based methodology for optimal DG designation which is completed by little world organization hypothesis programming [40]. A misfortune decrease affectability factor technique is utilized for choosing optimal DG area [41-43]. A scientific methodology for taking care of optimal DG assignment issue is utilizing misfortune touchy factor dependent on the same current infusion. In this strategy, absolute force misfortune minimization is accomplished without assessing induction, the backwards of permission or Jacobian lattice.
Gradient Search :
This describe depends on minimization and expansion of a given capacity, inclination plummet for work minimization and angle rising for boost. GS disregards shortcoming level imperatives while incorporating DG unit into coincided network [37,47].
Non-Linear and Mixed Integer Non-Linear Programming:
Non-Linear Programming is utilized for least DG unit portion with improved voltage security in both outspread and coincided networks [48]. In [49], different DG allotment is liked for decreasing generally speaking force misfortune and age cost. Mixed Integer Non-Linear Programming is utilized to settle time-differing load models by changing over discrete probabilistic age load model to deterministic [50].
Continuation Power Flow :
Another technique was created dependent on Continuation Power Flow confirm that DG gives a piece of the answer for expanding load request [50]. Optimization techniques
Particle Swarm Optimization (PSO)& Genetic algorithm:
There are number of optimization scheduling methods are present in our technology among them different methods the dynamic programming (deterministic algorithm), mixes integer programming, nonlinear programming and Bender’s decomposing has been used. In [48], a new approach to solve the optimal allocation of distribution system is used. According to recent studies mostly included the heuristic algorithms, it also includes frizzy mathematical programming [50] and genetic algorithm [50]. An artificial immune system and evolutionary programming [25], Partial swarm optimization. Advantage of population based meta-heuristics algorithms are GA & PSO are the set of non-dominated solutions can find because of their multi-point search capacity. Genetic algorithm gives a ‘one size will fit all’ solutions to problem solving search as shown in figure 2 and 3.

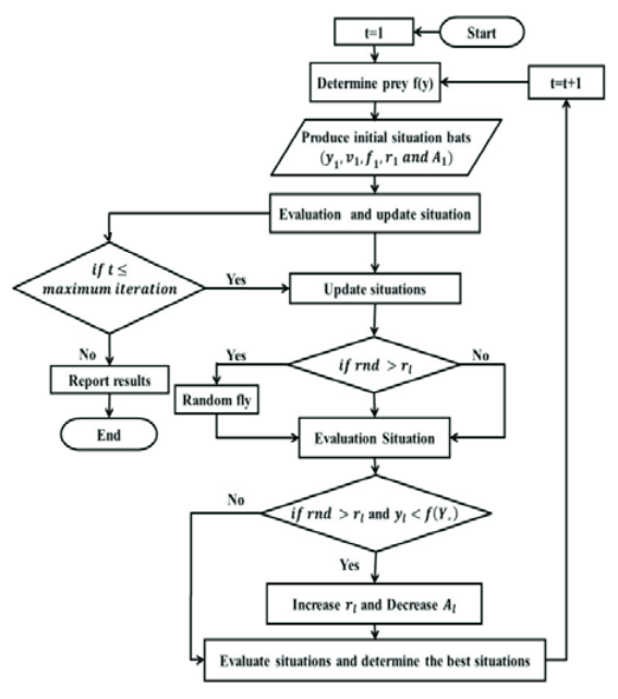
Bat Algorithm:
It is a multitude insight-based calculation. It was propelled by echolocation conduct of miniature bats. This is by shifting heartbeat paces of emanation and uproar. It is well appropriate for DG mix into an organization with blended burdens where responsive force misfortune is overlooked IS SHOWN IN Figure[50].
Artificial Bee Colony (ABC):
It is amassing knowledge-based calculation which is roused by rummaging conduct nectar of honey bees. It is well reasonable for complex issues. A tumultuous ABC calculation is utilized for allotment of genuine force DG units on a 38 hub and 69 hub outspread appropriation frameworks (RDSs).
Cuckoo Search (CS):
This calculation was enlivened by commit brood some of cuckoo species’ parasitism. They used to lay their eggs in other host birds’ homes. CS calculation is utilized for genuine force misfortune minimization.


Bacterial Foraging Optimization (BFO):
It is a nature-enlivened advancement. It is utilized to discover DG size and a misfortune affectability examination for the area.
Ant Colony Optimization (ACO):
It is a populace-based calculation. In this calculation, subterranean insects track down the ideal way from their province to the food source. It is utilized for ideal reclosers along with DG allotment in a dispersion framework. It is a population-based optimization algorithm. Optimization is carried by cooperative search metaphor inspired by natural meme-tics. It is used to improve voltage profile with maximum benefits on a 38 – bus distribution system in modified SFLA is used for multi-DG.

Conclusion
The current paper plainly shows the meaning of ideal circulation age assignment and estimating in an appropriation framework. At the same time the examination explains Distributed Generation coordination benefits like force misfortune minimization, voltage profile improvement, and decreased venture with low activity and upkeep cost and diminished ozone harming substances emanation by incorporating Renewable Energy Resource based Distributed age units. This investigation likewise centres around boundaries which rely upon ideal conveyance age allotment and measuring. Different scientists have effectively recognized ideal conveyance age assignment and measuring benefits like specialized, financial and ecological. Notwithstanding this few insightful, heuristic, meta-heuristic and half and half advancement methods are adjusted for ideal dissemination age assignment and estimating. Logical methodologies are not computationally hard for basic frameworks however not reasonable for a framework with huge and complex organizations. Joining of vulnerabilities related with DG yield, load interest, power valuing and emanation will make framework more intricate. Meta-heuristic and hybrid procedures are well appropriate for broadly enormous frameworks. They measure with high precision and wonderful assembly includes. This strategy gives worldwide ideal answers for basic single or complex multi-target issues. It is discovered that for ideal appropriation age distribution and estimating a few metaheuristic streamlining methods are performing incredibly well.
REFERENCES
1. Thomas Ackermann, GoranAndersson, and LennartSoder, “Distributed generation: a definition”, Electric Power Systems Research, vol. 57, pp. 195–204, 2001. 5
2. Thomas Ackermann, GoranAndersson, and LennartSoder, “Distributed generation: a definition”, Electric Power Systems Research, vol. 57, pp. 195–204, 2001.
3. J. A. Pecas Lopes, N. Hatziargyriou, J. Mutale, P. Djapic, N. Jenkins, “Integrating distributed generation into electric power systems: A review of drivers, challenges and opportunities”, Electric Power Systems Research, vol.77, pp. 1189–1203, 2007.
4. G. Pepermans, J. Driesenb, D. Haeseldonckx, R. Belmans, W. D’haeseleer, “Distributed generation: definition, benefits and issues”, Energy Policy, vol. 33, pp.787–798, 2005.
5. N. Hadjsaid, J. F. Canard, F. Dumas, “Dispersed generation impact on distribution networks”, IEEE Computer Applications Power, vol. 12, no. 2, pp. 22–8, 1999.
6. W. El-Khattam, M. M. A. Salama, “Distributed generation technologies, definitions and benefits”, Electric Power Systems Research, vol. 71, pp. 119–128, 2004.
7. M. H. Moradi, M. Abedin, “A combination of genetic algorithm and particle swarm optimization for optimal DG location and sizing in distribution systems”, Electrical Power and Energy Systems, vol. 34, pp. 66–74, 2012.
8. Rajkumar Viral, D. K. Khatod, “Optimal planning of distributed generation systems in distribution system: A review”, Renewable and Sustainable Energy Reviews, vol. 16, pp.5146–5165, 2012.
9. PremPrakash, Dheeraj K. Khatod, “Optimal sizing and siting techniques for distributed generation in distribution systems: A review”, Renewable and Sustainable Energy Reviews, vol. 57, pp. 111–130, 2016.
1. Rana H. A. Zubo, GeevMokryani, Haile-Selassie Rajamani, JamshidAghaei, TaherNiknam, PrashantPillai, “Operation and planning of distribution networks with integration of renewabledistributed generators considering uncertainties: A review”, Renewable and Sustainable Energy Reviews, vol. 72, pp.1177–1198, 2017.
11. R. Sanjay, T. Jayabarathi, T. Raghunathan, V. Ramesh, NadarajahMithulananthan, “Optimal Allocation Of Distributed Generation Using Hybrid Grey Wolf Optimizer”, in IEEE Access, vol. 5, pp. 14807-14818, 2017.
12. M. Mashhour, M. A. Golkar and S. M. M. Tafreshi, “Optimal sizing and siting of distributed generation in radial distribution network: Comparison of unidirectional and bidirectional power flow scenario”, IEEE Bucharest Power Tech, Bucharest, pp. 1-8, June 28th – July 2nd 2009.
13. W. El-Khattam, Y. G. Hegazy, and M. M. A. Salama, “An integrated distributed generation optimization model for distribution system planning”, in IEEE Transactions on Power Systems, vol. 20, no. 2, pp. 1158-1165, May 2005.
14. Gianfranco Chicco, PierluigiMancarella, “Distributed multigeneration: A comprehensive view”, Renewable and Sustainable Energy Reviews, vol. 13, pp. 535–551, 2009.
15. M. M. Aman, G. B. Jasmon, A. H. A. Bakar, H. Mokhlis, “A new approach for optimum simultaneous multi-DG distributed generation Units placement and sizing based on maximization of system load ability using HPSO (hybrid particle swarm optimization) algorithm”, Energy, vol. 66 , pp. 202-215, 2014.
16. IEEE Standards 1547-2030, Standards for Distributed Energy Resources Interconnection and Interoperability with the Electricity Grid, The Institute of Electrical and Electronics Engineers, 2014.
17. Aldo Canova, Gianfranco Chicco, Giuseppe Genon, PierluigiMancarella, “Emission characterization and evaluation of natural gas-fueled cogeneration micro turbines and internal combustion engines”, Energy Conversion and Management, vol. 49, pp. 2900–2909, 2008.
18. Christianne D. Aussant, Alan S. Fung, V. IsmetUgursal, HessamTaherian, “Residential application of internal combustion engine based cogeneration in cold climate— Canada”, Energy and Buildings, vol. 41, pp. 1288–1298, 2009.
19. Kyung Tae Yun, Heejin Cho, Rogelio Luck, Pedro J. Mago, “Modeling of reciprocating internal combustion engines for power generation and heat recovery”, Applied Energy, vol. 102, pp. 327–335, 2013.
20. A. Ameli, S. Bahrami, F. Khazaeli and M. R. Haghifam, “A Multiobjective Particle Swarm Optimization for Sizing and Placement of DGs from DG Owner’s and Distribution Company’s Viewpoints”, in IEEE Transactions on Power Delivery, vol. 29, no. 4, pp. 1831-1840, Aug. 2014.
21. T. Adefarati and R. C. Bansal, “Integration of renewable distributed generators into the distribution system: a review”, IET Renewable Power Generation, vol. 10, no. 7, pp. 873-884, 2016.
22. Wen-Shan Tan, Mohammad Yusri Hassan, Md Shah Majid, Hasimah Abdul Rahman, “Optimal distributed renewable generation planning: A review of different approaches”, Renewable and Sustainable Energy Reviews, vol. 18, pp. 626–645, 2013.
23. Bikash Kumar Sahu, “A study on global solar PV energy developments and policies with special focus on the top ten solar PV power producing countries”, Renewable and Sustainable Energy Reviews, vol. 43, pp. 621–634, 2015.
24. M. Karimi, H. Mokhlis, K. Naidu, S. Uddin, A. H. A. Bakar, “Photovoltaic penetration issues and impacts in distribution network – A review”, Renewable and Sustainable Energy Reviews, vol. 53, pp. 594–605, 2016.
25. Ming Ding, ZhichengXu, Weisheng Wang, Xiuli Wang, Yunting Song, Dezhi Chen, “A review on China’s large-scale PV integration: Progress, challenges and recommendations”, Renewable and Sustainable Energy Reviews, vol. 53, pp. 639–652, 2016.
26. A. Girard, E. J. Gago, J. Ordonez, T. Muneer, “Spain’s energy outlook: A review of PV potential and energy export”, Renewable Energy, vol. 86, pp. 703-715, 2016.
27. T. Jin, Y. Tian, C. W. Zhang and D. W. Coit, “Multicriteria Planning for Distributed Wind Generation Under Strategic Maintenance”, IEEE Transactions on Power Delivery, vol. 28, no. 1, pp. 357-367, 2013.
28. Ming Cheng, Ying Zhu, “The state of the art of wind energy conversion systems and technologies: A review”, Energy Conversion and Management, vol. 88, pp. 332–347, 2014.
29. Rodrigo Mena, Martin Hennebel, Yan-Fu Li, Carlos Ruiz, Enrico Zio, “A risk-based simulation and multi-objective optimization framework for the integration of distributed renewable generation and storage”, Renewable and Sustainable Energy Reviews, vol. 37, pp. 778–793, 2014.
30. Y. S. Mohammed, A. S. Mokhtar, N. Bashir, R. Saidur, “An overview of agricultural biomass for decentralized rural energy in Ghana”, Renewable and Sustainable Energy Reviews, vol.20, pp. 15–22, 2013.
31. P. Reche-López, N. Ruiz-Reyes, S. GarcíaGalán, F. Jurado, “Comparison of metaheuristic techniques to determine optimal placement of biomass power plants”, Energy Conversion and Management, vol. 50, pp. 2020–2028, 2009.
32. H. Nehrir, Caisheng Wang and S. R. Shaw, “Fuel cells: promising devices for distributed generation,” in IEEE Power and Energy Magazine, vol. 4, no. 1, pp. 47-53, Jan-Feb. 2006.
33. MudathirFunshoAkorede, HashimHizam, EdrisPouresmaeil, “Distributed energy resources and benefits to the environment”, Renewable and Sustainable Energy Reviews, vol. 14, pp. 724–734, 2010.
34. Yijia Cao, Xifan Wang, Yong Li, Yi Tan, Jianbo Xing, Ruixiang Fan, “A comprehensive study on low-carbon impact of distributed generations on regional power grids: A case of Jiangxi provincial power grid in China”, Renewable and Sustainable Energy Reviews, vol. 53, pp. 766–778, 2016.
35. P. S. Georgilakis and N. D. Hatziargyriou, “Optimal Distributed Generation Placement in Power Distribution Networks: Models, Methods, and Future Research”, IEEE Transactions on Power Systems, vol. 28, no. 3, pp. 3420-3428, 2013.
36. K. Mahmoud, N. Yorino, and A. Ahmed, “Optimal Distributed Generation Allocation in Distribution Systems for Loss Minimization”, IEEE Transactions on Power Systems, vol. 31, no. 2, pp. 960-969, 2016.
37. H. L. Willis, “Analytical methods and rules of thumb for modeling DG-distribution interaction,” 2000 Power Engineering Society Summer Meeting (Cat. No.00CH37134), Seattle, WA, vol. 3, pp. 1643-1644, 16 – 20 July 2000.
38. P. N. Vovos and J. W. Bialek, “Direct incorporation of fault level constraints in optimal power flow as a tool for network capacity analysis”, IEEE Transactions on Power Systems, vol.20, no. 4, pp. 2125-2134, 2005.
39. S. H. Lee and J. W. Park, “Optimal Placement and Sizing of Multiple DGs in a Practical Distribution System by Considering Power Loss”, IEEE Transactions on Industry Applications, vol.49, no. 5, pp. 2262-2270, 2013.
40. Duong Quoc Hung, N. Mithulananthan, R. C. Bansal, “Analytical strategies for renewable distributed generation integration considering energy loss minimization”, Applied Energy, vol. 105, pp. 75–85, 2013.
41. Y. Zhao, Y. An, and Q. Ai, “Research on size and location of distributed generation with vulnerable node identification in the active distribution network”, IET Generation, Transmission & Distribution, vol. 8, no. 11, pp. 1801-1809, 2014.
42. M. A. Kashem, A. D. T. Le, M. Negnevitsky, and G. Ledwich, “Distributed generation for minimization of power losses in distribution systems”, 2006 IEEE Power Engineering Society General Meeting, Montreal, Que., Canada, pp. 8 – 16, 18 – 22 June 2006.
43. V. V. S. N. Murthy, Ashwani Kumar, “Comparison of optimal DG allocation methods in radial distribution systems based on sensitivity approaches”, Electrical Power and Energy Systems, vol. 53, pp. 450–467, 2013.
44. A. K. Singh, S. K. Parida, “Novel sensitivity factors for DG placement based on loss reduction and voltage improvement”, Electrical Power and Energy Systems, vol. 74, pp. 453–456, 2016.
45. SudiptaGhosh, S. P. Ghoshal, SaradinduGhosh, “Optimal sizing and placement of distributed generation in a network system”, Electrical Power and Energy Systems, vol. 32, pp.849–856, 2010.
46. Tuba Gozel, M. HakanHocaoglu, “An analytical method for the sizing and siting of distributed generators in radial systems”, Electric Power Systems Research, vol. 79, pp. 912–918, 2009.
47. M. F. AlHajri and M. E. El-Hawary, “Optimal Distribution Generation Sizing via Fast Sequential Quadratic Programming,” Large Engineering Systems Conference on Power Engineering, Montreal, Que., Canada, pp. 63-66, 10 – 12 Oct 2007.
48. Mohamed A. Darfoun, Mohamed E. El-Hawary, “Multi-objective Optimization Approach for Optimal Distributed Generation Sizing and Placement”, Electric Power Components and Systems, vol. 43, no.7, pp. 828-836, 2015.
49. M. Esmaili, “Placement of minimum distributed generation units observing power losses and voltage stability with network constraints”, IET Generation, Transmission & Distribution, vol.7, no. 8, pp. 813-821, 2013.
50. Antonio José Gil Mena, Juan Andrés Martín García, “An efficient approach for the siting and sizing problem of distributed generation”, Electrical Power and Energy Systems, vol. 69, pp. 167–172, 2015.
Source & Publisher Item Identifier: PRZEGLĄD ELEKTROTECHNICZNY, ISSN 0033-2097, R. 97 NR 12/2021. doi:10.15199/48.2021.12.01